Monofab SRM-20 Mill


Purpose
Section titled “Purpose”- This machine is capable of cutting a wide variety of materials including chemical wood, acrylic, and ABS
- it can be used in milling, casting or pcb production
Minimum knowledge to use machine
Section titled “Minimum knowledge to use machine”-
cutting tools

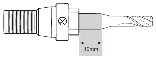
-
cutting area x,y

-
cutting area z

-
softwares used
-
vpanel: to control the axis and start the job

-
SRP Player: This is a CAM software that imports general-use 3D data, (such as IGES, DXF (3D), or STL), and lets you easily prepare tool paths and output them to the SRM-20.

-
Modela Player 4: This is a CAM software that imports general-use 3D data, (such as IGES, DXF (3D), or STL), and lets you easily prepare tool paths and output them to the SRM-20.

-
-
The Flow of One Side Cutting

-
Preparing the Machine

-
attaching the cutting tool


-
attach the material to the table
-
Mark the location that will be the origin point of the material.

-
Stick double-stick tape on the material.

-
set the origin of the vpanel

-
-
Loadable workpiece weight : 2 kg
-
operating speed : 6 ~ 1800 mm/min
-
maximum spindle rotation : 7,000 rpm
Materials
Section titled “Materials”- Chemical wood
- Sanmodur
- ABS
- Modeling wax
Working time
Section titled “Working time”- monday
- wednesday
Maintenance
Section titled “Maintenance”Procedures
Section titled “Procedures”- lubricate and grease the axis and rail
- clean the container under the plate
- make sure the layer above the plate is leveled
- suck the wasted wood, wax or cubber from the machine
- Yearly maintenance
- sunday
1\9\2019hardware maintenance (cleaning, greasing) - monday
2\9\2019software maintenance (installing O.S, softwares, mods, local server) - test the machine
- sunday
advanced
Section titled “advanced”- Z Cutting Range by Changing the Position of the Spindle Unit




